Email This Page

Section 2.7
Fuel Pump With Separate Drive Shaft and Hub

The former fuel pump system consists of the following components:‪

The fuel pump transfers fuel from the supply tank to the fuel injectors. The pump circulates an excess supply of fuel through the injectors which purges the air from the system and cools the injectors. The unused portion of fuel returns to the fuel tank by means of a fuel return line.‪

The fuel pump is attached to either a drive assembly mounted on the rear side of the gear case, see Figure "Fuel Pump Drive Coupling" , or driven off of the rear of the air compressor. See Figure "Fuel Pump Mounting" .‪

Click to see this graphic in a separate window

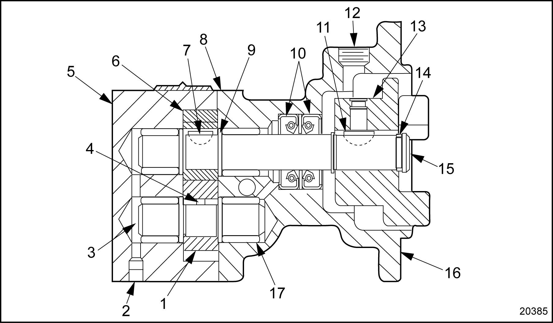
 1. Bolt‪

 6. Drive Hub‪

 2. Fuel Pump Assembly‪

 7. Gasket‪

 3. Key‪

 8. Fuel Pump Coupling‪

 4. Set Screw‪

 9. Fuel Fitting‪

 5. C-clip‪

10. Plug‪

Figure 2. Fuel Pump Drive Coupling

The fuel pump cover and body are positioned by two dowels. The dowels aid in maintaining alignment between the body, cover and shafts. The mating surfaces of the pump body and cover are perfectly flat ground surfaces. A gasket is used between the cover and body.‪

Click to see this graphic in a separate window

Figure 3. Fuel Pump Mounting

The fuel pump body is recessed to provide running space for the pump gears. Recesses are also provided at the inlet and outlet positions of the gears. The small relief valve vent (5) (see Figure "Fuel Pump" ) permits the fuel oil in the inlet side of the pump to lubricate the relief valve at its outer end. This eliminates the possibility of a hydrostatic lock which would render the relief valve inoperative. Pressurized fuel contacts the relief valve through the passage to the head of the relief valve (1) and provides for relief of excess discharge pressures. ‪

Fuel re-enters the inlet side of the pump through the passage to head of the relief valve (6) when the discharge pressure is great enough to move the relief valve back from its seat. Part of the relief valve may be seen through the passage to the head of the relief valve (6). ‪

The gear teeth vent cavity (7) provides escape for the fuel oil that is squeezed out of the gear teeth as they mesh together on the discharge side of the pump. Otherwise, fuel trapped at the root of the teeth would tend to force the gears apart, resulting in undue wear on the gears, shafts, body, and cover. See Figure "Fuel Pump" .‪

Click to see this graphic in a separate window

 1. Passage to Head of Relief Valve-Pressure Side‪

10. Dowel‪

 2. Dowel Hole‪

11. Drive Gear‪

 3. Body‪

12. Drive Shaft Gear‪

 4. Oil Seal Vent to Suction Side‪

13. Relief Valve‪

 5. Relief Valve Vent to Suction Side‪

14. Spring‪

 6. Passage to Head of Relief Valve-Suction Side‪

15. Pin‪

 7. Gear Teeth Vent Cavity‪

16. O-ring‪

 8. Cover‪

17. Plug‪

 9. Driven Gear‪

18. Spacer‪

Figure 4. Fuel Pump

Two oil seals are pressed into the bore in the flanged side of the pump body to retain the fuel oil in the pump and the lubricating oil in the fuel pump drive and gear case. The oil seal vent (4) (see Figure "Fuel Pump" ) serves as a vent passageway in the body between the inner oil seal and the suction side of the pump. This prevents building up any fuel oil pressure around the shaft ahead of the inner seal. The oil seals are installed with the lips of the seals facing each other. See Figure "Fuel Pump Oil Seal Arrangement" .‪

Click to see this graphic in a separate window

Figure 5. Fuel Pump Oil Seal Arrangement

Some fuel oil seepage by the fuel pump can be expected with a running engine and immediately after an engine has been shut down. This is especially true with a new fuel pump, new pump seals, or both, as the seals have not yet conformed to the pump drive shaft. Fuel pump seals will always allow some seepage. A drain hole in the pump body is provided to prevent fuel oil from being retained between the seals. Excessive fuel retention between the seals could provide enough pressure to cause engine oil dilution by fuel; therefore, drainage of the excess fuel oil is mandatory. However, if leakage exceeds one drop per minute, replace the pump. The drain hole should be checked for plugging at normal scheduled maintenance.‪

A spring-loaded relief valve incorporated in the pump body normally remains in the closed position, operating only when pressure on the outlet side (to the fuel filter) reaches approximately 448 kPa (65 psi).‪

In operation, fuel enters the pump on the suction side and fills the space between the gear teeth that are exposed at that instant. The gear teeth then carry the fuel oil to the discharge side of the pump and, as the gear teeth mesh in the center of the pump, the fuel is forced out the outlet cavity. Since this is a continuous cycle and fuel is continually being forced into the outlet cavity, the fuel flows from the outlet cavity into the fuel lines and through the engine fuel system under pressure.‪

The pressure relief valve relieves the discharge pressure by bypassing the fuel from the outlet side of the pump to the inlet side when the discharge pressure reaches approximately 448 to 517 kPa (65 to 75 psi). The fuel pump should maintain the fuel pressure as shown in the maintenance section. Refer to "12.5 Operating Conditions" .‪

Section 2.7.1
Repair or Replacement of Former Fuel Pump

To determine if repair or replacement of the fuel pump is necessary. See Figure "Flowchart for Repair or Replacement of Former Fuel Pump" .‪

Click to see this graphic in a separate window

Figure 6. Flowchart for Repair or Replacement of Former Fuel Pump

Section 2.7.2
Removal of Former Fuel Pump

Perform the following steps for fuel pump removal:‪

  1. Disconnect the fuel lines from the inlet and outlet openings of the fuel pump.
  2. Remove the three fuel pump attaching bolts and withdraw the pump from the mounting adaptor on the gear case or air compressor.
  3. Check the drive coupling and, if broken or worn, replace it with a new coupling.

Section 2.7.3
Disassembly of Former Fuel Pump

Perform the following steps for fuel pump disassembly:‪

  1. With the fuel pump removed from the engine, clamp the pump in a bench vise equipped with soft jaws.
  2. Remove fuel inlet and outlet fittings from fuel pump cover.
  3. Remove access hole plug.
  4. Use snap ring pliers (J–4880) and remove outer drive hub positioning C-clip.

    Note: It may be necessary to rotate the drive hub and shaft to align the set screw with access hole.

  5. Working through access hole, loosen but do not remove set screw securing drive hub to drive key.
  6. Slide drive hub off shaft and remove drive key from shaft.
  7. Use snap ring pliers (J–4880) and remove inner drive hub positioning C-clip.
  8. Position pump on holding fixture (J–38767–1) hub side down. See Figure "Fuel Pump Holding Fixture" .
    Click to see this graphic in a separate window

    Figure 7. Fuel Pump Holding Fixture

  9. Using a No. E-8 torx socket (J–25359–11, part of tool set J–25359–C) , remove eight (8) bolts securing the pump cover to body.

    Note: Note the color of the foil gasket, gold or silver. If the pump is reassembled, the same color foil gasket must be used. The gaskets are of different thickness and establish correct internal clearance.

  10. Separate the pump cover from the body by lifting it off the shafts and dowels. Remove and discard the foil gasket between the cover and body.

    Note: When the drive shaft is removed from the pump, the oil seals must be replaced.

  11. Withdraw the driven shaft, drive shaft, and gear assemblies from the pump body.
  12. Remove the C-clips that retain the gears on the shafts, taking care not to misplace the drive pin from the drive shaft or the key from the drive shaft.
  13. Remove the gears from the shafts.

    Note: When the drive shaft is removed, the drive shaft needle bearing assembly in the pump body must also be removed to allow installation of the oil seal protector used during reassembly.

  14. Use needle bearing remover (J–33853) with slide hammer and remove the needle bearing assemblies from the pump body and cover. See Figure "Needle Bearing Removal" .
    Click to see this graphic in a separate window

    Figure 8. Needle Bearing Removal

  15. Position pump on fixture (J–38767–1) and insert lip of seal remover (J–1508–13) between the inner and outer oil seals. Tap the tool with a light hammer to drive the outer seal out of the pump body. See Figure "Oil Seal Removal" . Discard the seal.
    Click to see this graphic in a separate window

    Figure 9. Oil Seal Removal

  16. Repeat the process removing the inner seal by placing the tool lip against the inside of the seal case. Discard the seal.
  17. Unscrew and remove the relief valve plug and remove the relief valve plunger, spring and pin from the bore.
  18. Remove the spacer from the relief valve plug.
  19. Remove and discard the O-ring seal under the head of the plug.
Section 2.7.3.1
Cleaning and Inspection of Former Fuel Pump

Perform the following steps to clean and inspect the fuel pump parts:‪

warning

EYE INJURY

To avoid injury from flying debris when using compressed air, wear adequate eye protection (face shield or safety goggles) and do not exceed 276 kPa (40 psi) air pressure.‪

  1. Clean all parts with clean fuel oil, before inspection.
  2. Dry the parts with compressed air.
  3. Visually inspect the drive coupling and hub for wear or damage.
    1. If wear or damage is found, replace the drive coupling and hub.
    2. If no wear or damage is found. Reuse the drive coupling and hub.
  4. Oil seals, once removed, must be discarded and replaced with new seals. Oil seals must be removed whenever the fuel pump drive shaft is withdrawn.
  5. Visually inspect the drive and idler gear shafts for scoring or wear.
    1. If scoring or wear is found, replace the drive and idler gear shafts.
    2. If no scoring or wear is found, reuse the drive and idler gear shafts.
  6. Visually check the gear teeth for scoring, chipping or wear.
    1. If gear teeth are scored, chipped or worn, replace the parts as necessary.
    2. If gear teeth are not scored, chipped or worn, reuse the parts.
  7. Visually inspect the relief valve. The valve must be free of score marks and burrs.
    1. If the relief valve is scored and cannot be cleaned up with fine emery cloth, replace the relief valve.
    2. If the relief valve is not damaged, reuse the part.

Section 2.7.4
Assembly of Former Fuel Pump

Perform the following steps for fuel pump assembly:‪

  1. Lubricate the lips of the oil seals and pilot of oil seal installer (J–1508–8) with a light film of clean engine oil.
  2. Place oil seal adaptor (J–34158) on the pilot with the wide end of the adaptor against the installer handle.
  3. Place oil seal on installer pilot with seal case against the adaptor.
  4. Support the pump body on wood blocks, hub side up, and insert the pilot into the shaft bore positioning the seal on the bore. Use a light hammer and drive the seal into the bore until the adaptor is bottomed against the pump body. See Figure "Installing Inner Oil Seal" .
    Click to see this graphic in a separate window

    Figure 10. Installing Inner Oil Seal

  5. Remove the installer and reverse the adaptor, placing the narrow end against the installer handle. See Figure "Installing Outer Oil Seal" .
    Click to see this graphic in a separate window

    Figure 11. Installing Outer Oil Seal

  6. Place a second seal on the installer pilot with the seal case faced away from the adaptor.
  7. Carefully reinsert the installer pilot through the inner seal and position the second outer seal on the bore. Use a light hammer and drive the seal into the bore until the adaptor is bottomed against the pump body.
  8. Press a fuel pump gear positioning C-clip directly into inner groove of fuel pump drive shaft opposite the drive hub end of the shaft.
  9. Install drive key in slot on the drive shaft and slide the gear on the shaft indexing the keyway in the gear with the key.
  10. Press a second C-clip directly into the groove behind the gear to retain it in position.
  11. As the driven shaft is reversible, press a C-clip directly into either groove on the shaft.
  12. Insert driven gear pin into its hole in the driven shaft with the square head of the pin parallel to the shaft. Slide the gear on the shaft indexing the keyway in the gear over the square head of the pin.
  13. Press a second C-clip directly into the groove behind the gear to retain it in position.

    Note: The bearing numbers should always be against the tool during installation.

  14. With the pump cover on a bench, inside face up, position a new needle bearing assembly on bearing installer (J–33854) with the bearing numbers against the installer. Position the bearing carefully on a shaft bore in the cover and with a light hammer drive the bearing into the bore until the installer is flush against the cover surface. See Figure "Bearing Assembly Installation" . Repeat the procedure, installing a new bearing assembly in the remaining shaft bore.
    Click to see this graphic in a separate window

    Figure 12. Bearing Assembly Installation

    Note: Do not install a needle bearing assembly in the drive shaft bore until all other needle bearings have been installed and the oil seal protector has been positioned in the seals.

  15. Position the pump body on a bench, hub side down, and following the same bearing installation procedure, install a new needle bearing assembly in the driven shaft bore in the body.

    NOTICE:

    The seal protector must remain in place on both seals during installation of the needle bearing assembly in the drive shaft bore. If the protector is allowed to come out before the drive shaft is installed, the bearing must be removed and discarded and the protector reinstalled. The protector will be pushed out during drive shaft installation.‪

  16. With the pump body on a bench, hub side down, lubricate the outside of seal protector (J–33021–A) with clean engine oil. Install the solid end of the protector down through both seals until it contacts the bench. See Figure "Seal Protector Installation" . Approximately 3 mm (1/8 in.) of the open end of the protector should remain above the inner seal.
    Click to see this graphic in a separate window

    Figure 13. Seal Protector Installation

  17. Install a new needle bearing assembly in the drive shaft bore. See Figure "Drive Shaft Bearing Installation" .
    Click to see this graphic in a separate window

    Figure 14. Drive Shaft Bearing Installation

  18. Carefully insert the drive hub end of the drive shaft through the needle bearing assembly and into the seal protector. Ensure the shaft is fully seated in the seal protector.
  19. Hold the shaft down in the seal protector and lift the pump body up against the gear. With the gear in contact with the pump body, lift the body and remove the seal protector from the drive shaft.

    Note: Hold the shaft in position with the gear against the pump body to ensure the drive hub C-clip grooves do not contact the oil seals.

  20. Position the pump body on the holding fixture (J–38767–1, part of tool set J–38767–A) hub side down.

    Note: When assembling pump, always use the same color foil gasket that was originally installed and is listed in Table "Gasket Color vs. Gear Cavity Depth Chart (Former Fuel Pump)" . If the color is unknown, measure the depth of the gear cavity in the pump cover and install the required gasket.

    Gear Cavity Depth

    Color Gasket Used

    6.320-6.325 mm (0.24885-0.24905 in.)‪

    Blue‪

    6.326-6.331 mm (0.24906-0.24925 in.)‪

    Amber‪

    6.333-6.338 mm (0.24935-0.24955 in.)‪

    Gold‪

    6.339-6.344 mm (0.24956-0.24975 in.)‪

    Silver‪

    Table 6. Gasket Color vs. Gear Cavity Depth Chart (Former Fuel Pump)
  21. Place a new foil gasket on the face of the pump. With a finger tip, carefully smooth the gasket against the face to ensure there are no wrinkles, creases or bubbles. If present, and they cannot be removed with the finger, remove the gasket and repeat the procedure.
  22. Carefully insert the driven shaft and gear assembly in the needle bearing in the pump body.

    Note: When positioning the cover, the fuel inlet (stamped on cover) must be on the side of the relief valve bore in the pump body.

  23. Position the needle bearing assemblies in the pump cover on the ends of the driven and drive shafts and slide the cover against the pump body.
  24. Install eight (8) cover retaining bolts. Use No. E-8 torx socket (J–25359–11, part of tool set J–25359–C) and torque bolts to 12-15 N·m (9-11 lb·ft).

    Note: As the outside of the pump body and cover are not machined and to prevent possible distortion, ensure that only the pump cover is gripped and that the vise jaws do not contact both body and cover.

  25. Clamp the fuel pump cover in a soft-jawed vise with the relief valve bore in the pump body positioned up.
  26. Lubricate the relief plunger with clean engine oil and insert the plunger into the bore with the hollow end up. Insert the relief spring inside the plunger and the pin inside the spring.
  27. Install the spacer in the bottom of the spring seat in the plug and install a new O-ring seal under the head of the plug. Thread the plug into the pump body and torque to 8-14 N·m (6-10 lb·ft).
  28. Place the pump assembly on a bench, hub side up. Coat the surface of the outer seal with a small amount of lithium base all purpose grease.
  29. Use snap ring pliers (J–28507) and install inner drive hub positioning C-clip in its groove in the shaft.
  30. Remove the set screw from the drive hub and apply one drop of Loctite® 242 (or equivalent) to the threads and reinstall the set screw two or three turns.
  31. Install the hub drive key in the groove on the shaft and slide the hub on the shaft indexing the keyway in the hub with the key in the shaft.
  32. Use snap ring pliers and install outer hub retaining C-clip in groove.
  33. Rotate the drive shaft and hub to align the hub set screw with the access hole in the pump body. Torque the set screw to 3.8 N·m (2.8 lb·ft).
  34. Install access hole plug.
  35. Install fuel inlet and outlet fittings in the pump cover.

Section 2.7.5
Installation of Former Gear Train-Driven Fuel Pump

Install the fuel pump as follows:‪

NOTICE:

It may be necessary to use a brass hammer or fiber mallet to seat the drive assembly. Be careful not to damage the O-ring on installation.‪

  1. Install the drive assembly on the gear case.
  2. Install the fuel pump drive bolts and torque to 30-34 N·m (22-25 lb·ft) using the torque pattern. See Figure "Fuel Pump Drive Retaining Bolt Torque Sequence" .
    Click to see this graphic in a separate window

    Figure 15. Fuel Pump Drive Retaining Bolt Torque Sequence

  3. Using a new gasket, install the fuel pump and torque bolts to 30-38 N·m (22-28 lb·ft).
  4. Install any other components that were removed for this procedure.
  5. Connect fuel inlet and outlet lines to the fuel pump and tighten.
  6. Prime the fuel system before starting the engine.
    warning

    PERSONAL INJURY

    Diesel engine exhaust and some of its constituents are known to the State of California to cause cancer, birth defects, and other reproductive harm.‪

    • Always start and operate an engine in a well ventilated area.
    • If operating an engine in an enclosed area, vent the exhaust to the outside.
    • Do not modify or tamper with the exhaust system or emission control system.
  7. Start the engine and check for leaks.
  8. Shut down the engine upon completion of tests.

Section 2.7.6
Installation of Former Air Compressor-Driven Fuel Pump

Perform the following steps for fuel pump installation:‪

Note: New fittings have sealant already applied. If reusing fittings, coat the threads lightly with Loctite® Pipe Sealant, PT-7260 , or equivalent, before installing. To prevent sealant from entering fuel system, do not apply it to the first two (2) threads of the fitting. Do not use Teflon tape or paste on the fittings.

  1. If removed, install inlet and outlet fittings in the rear cover of the fuel pump.
  2. Install drive coupling in drive hub of the fuel pump and affix a new gasket to the mounting flange of the pump.

    Note: When correctly positioned, the outlet fitting on the pump should be in approximately 8 o'clock position when viewed from the rear, and the drain opening in the pump body facing down.

  3. Index the drive coupling with the drive hub on the end of the air compressor crankshaft and align the pump mounting bolt holes with those in the air compressor rear cover.
  4. Seat the fuel pump squarely against the air compressor piloting the flange on the pump body in the opening in the rear cover of the compressor. Install three (3) fuel pump mounting bolts and torque them to 30-38 N·m (22-28 lb·ft).
  5. Connect the fuel inlet and outlet lines to the fuel pump and tighten.
  6. Prime engine fuel system before starting engine to ensure pump seal lubrication and prompt engine starting.


Series 60 Service Manual - 6SE483
Generated on 10-13-2008