Email This Page

Section 1.1
Cylinder Block and Cylinder Liner

The cylinder block is the basic engine structure, establishing and maintaining the alignment of all engine working parts. In the Series 60 Engine, the cylinder bores are not an integral part of the block casting, but are in the form of replaceable, wet type cylinder liners. See Figure "Series 60 Cylinder Block and Liner" .‪

Flanges at the liner upper ends seat in counterbores in the block deck, and project slightly above the deck to compress the head gasket for a good compression seal. Below the water jacket the lower end of the cylinder liner has two D-shaped seal rings and a lipped crevice seal to prevent leakage between the water jacket and crankcase.‪

Click to see this graphic in a separate window

1. Cylinder Block‪

4. Cylinder Liner‪

2. D-rings‪

5. Integral Coolant Inlet Manifold‪

3. Crevice Seal‪

6. Oil Galleries‪

Figure 1. Series 60 Cylinder Block and Liner

An integral coolant inlet manifold is cored into the right side of the block. It distributes the water pump output along the length of the block. Oil galleries are machined into the cooler side of the block. See Figure "Series 60 Cylinder Block and Liner" .‪

The integral oil galleries direct the oil pump output through the external oil cooler and filters, to the main oil gallery and to drilled passages in the crankcase webs which supply oil under pressure to each main bearing. In the crankcase, five integral webs plus front and rear bulkheads support the crankshaft in seven main bearings. See Figure "Series 60 Cylinder Block Crankcase" .‪

Click to see this graphic in a separate window

Figure 2. Series 60 Cylinder Block Crankcase

An improved cylinder block has replaced the former block on all Series 60 engines. This change took effect with unit serial number 6R210293, built November 30, 1994. The former cylinder block was used on engines built prior to this serial number.‪

The Series 60 cylinder block was further improved by the addition of a drilled lubrication orifice and bolt hole at the base of each cylinder bore. See Figure "Series 60 Cylinder Block Crankcase" . The orifices are drilled into the main oil gallery and are required for installation of bolt-on oil spray nozzles used with forged steel pistons on premium engines. When blocks are used for non-premium engines with cast-iron pistons, the lubrication orifices are closed with bolt-on steel plates. First usage of the drilled block was on May 2, 1998, effective with engine serial number 6R408505.‪

The improved block permits installation of adaptorless Bendix and Midland air compressors onto the gear case. The improved block is similar to the former block, except that it has a slightly modified sidewall configuration that eliminates interference between the block and the adaptorless compressor. To compensate for the elimination of the adaptor, air compressor mounting bracket bolt holes have been moved forward 130.3 mm (5.13 in.) on the block. See Figure "Cylinder Block Showing Current Modifications" . Since these holes have a different spacing than the former holes, an improved compressor mounting bracket is required. A new air compressor coolant supply port has also been added forward of the former supply port. The former port is plugged when the adaptorless compressor is installed.‪

Click to see this graphic in a separate window

Figure 3. Cylinder Block Showing Current Modifications

When replacing a former block with an improved block, it is recommended (but not necessary) that an adaptorless air compressor, improved compressor mounting bracket, and improved compressor coolant supply hose be installed. Refer to "11.1.3 Installation of Adaptorless Air Compressor" , of this manual for information on installing the adaptorless air compressor.‪

Section 1.1.1
Repair or Replacement of Cylinder Block

To determine if repair is possible or replacement is necessary, perform the following procedure. See Figure "Flowchart for Repair or Replacement of Cylinder Block" .‪

Click to see this graphic in a separate window

Figure 4. Flowchart for Repair or Replacement of Cylinder Block

Section 1.1.2
Removal and Disassembly of Engine from the Vehicle

Before mounting an engine on an overhaul stand, it must be disconnected from the transmission. Details for removing an engine will vary from one application to another. However, the following steps will be necessary, regardless of application:‪

  1. Disconnect the battery cable(s) from the battery(s).
  2. Drain the cooling system completely by removing the drain plug in the oil cooler and opening the drain cocks in the cylinder block, thermostat housing and water pump housing. Refer to "14.6.4 Cooling System" .
  3. Drain the lubricating oil. Refer to "14.6.1 Lubricating Oil" .
  4. Disconnect the inlet fuel line from the primary fuel filter and the outlet line from the upper fitting at the rear of the cylinder head. Refer to "2.10.1 Replacement of Fuel Filter" .
  5. Remove the air cleaner ducting as necessary for engine removal. Refer to OEM guidelines.
  6. Remove the charge air cooler ducting from the turbocharger and intake manifold. Refer to "6.8.2 Removal and Cleaning of Charge Air Cooler" .
  7. Disconnect the exhaust piping from the turbocharger. Refer to "6.5.2 Removal and Cleaning of Turbocharger" .
  8. Disconnect DDEC:
    1. For DDEC I, disconnect the 22-pin DDEC electrical connector. Refer to "2.18.2 Removal of DDEC I Electronic Control Module" .
    2. For DDEC II or III, disconnect the 30-pin DDEC vehicle electrical connector and the six-pin DDEC II power connector or DDEC III/IV five pin power connector. Refer to "2.16.2 Removal of the DDEC III/IV Electronic Control Module" , or refer to "2.17.3 Removal of DDEC II Electronic Control Module" .
  9. For removal of DDEC V refer to "2.15.2 Removal of the DDEC V Electronic Control Unit" .
  10. Disconnect and remove the cranking motor. Refer to "9.4.2 Removal of Cranking Motor" .
  11. Remove the alternator and other electrical equipment, as necessary. Refer to "9.2.2 Removal of Alternator" .
  12. Remove the air compressor and any air lines, as necessary. Refer to "11.1.5 Cleaning and Removal of the Original-type Air Compressor" .
  13. Disconnect and remove the coolant hoses.
  14. Remove the charge air cooler, radiator, fan guard and other cooling system related parts as necessary to remove the engine. Refer to "6.8.2 Removal and Cleaning of Charge Air Cooler" .
  15. Connect a suitable lifting device to the engine using all three lifting brackets (two at the rear and one at the front).
  16. Separate the engine from the transmission .
  17. Remove the engine mounting bolts.
    danger

    FALLING ENGINE

    To avoid injury from a falling engine, an adequate lifting device with a spreader bar and sling should be used to lift the engine. The sling and spreader bar should be adjusted so the lifting hooks are vertical to prevent bending the lifter brackets. To ensure proper weight distribution, all provided lifter brackets must be used.‪

  18. Lift the engine from its mounts using a suitable lifting device. See Figure "Lifting Engine" .
    Click to see this graphic in a separate window

    Figure 5. Lifting Engine

    warning

    FALLING ENGINE

    To avoid injury from a falling engine, ensure the engine is securely attached to the engine overhaul stand before releasing the lifting sling.‪

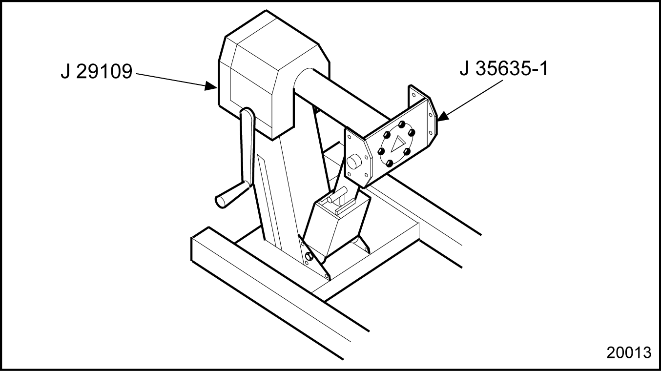
  19. Use engine overhaul stand (J–29109) with stand adaptor plate (J–35635–1, part of tool set J–35635–A) for support when stripping a Series 60 engine cylinder block. See Figure "Engine Overhaul Stand and Adaptor" .
    Click to see this graphic in a separate window

    Figure 6. Engine Overhaul Stand and Adaptor

  20. Bolt cylinder block adaptor (J–35635–2, part of tool set J–35635–A) to the cylinder block and mate it with the stand adaptor (J–35635–1, part of tool set J–35635–A) . See Figure "Cylinder Block Adaptor" .
    Click to see this graphic in a separate window

    Figure 7. Cylinder Block Adaptor

  21. The engine is left-side mounted in an upright position. Rotate it in either direction and lock it into position.
  22. Remove the fuel filters and adaptor.
    1. For DDEC I engines, remove the inlet and outlet fuel lines connected to the Electronic Distributor Unit (EDU) cold plate, the EDU mounting bolts, and the EDU. Refer to "2.18.2 Removal of DDEC I Electronic Control Module" .
    2. For DDEC II engines, remove the inlet and outlet fuel lines connected to the Electronic Control Module (ECM) cold plate, the ECM mounting bolts, and the ECM. Refer to "2.17.3 Removal of DDEC II Electronic Control Module" .
    3. Note: DDC has discontinued the use of the ECM cold plate on all Series 60 automotive engine models, effective with unit serial number 06R0008950. In place of the ECM cold plate, a No. 6 x 37.92 in. (963 mm) long hose assembly (23504785) is now routed from the fuel pump discharge fitting to the inlet of the secondary fuel filter.

  23. Disconnect the harness connector (gray) from the timing reference sensor (TRS) at the lower left corner of the gear case. Remove the TRS from the gear case. Refer to "2.32.2 Removal of Timing Reference Sensor" .
  24. Disconnect the harness (black) connector from the synchronous reference sensor (SRS) at the left rear wall of the gear case. Remove the SRS from the gear case. Refer to "2.30.2 Removal of Synchronous Reference Sensor" .
  25. Remove any electrical components, connectors or wiring looms from the engine.
  26. With the engine mounted on the overhaul stand, remove all of any remaining subassemblies and parts from the cylinder block.
    1. To remove the one piece valve rocker cover, refer to "1.6.2 Removal and Cleaning of One-piece Rocker Cover For Diesel Engines Only" .
    2. To remove the two piece valve rocker cover, refer to "1.6.3 Removal and Cleaning of Two-piece Rocker Cover For Diesel Engines Only" .
    3. To remove the three piece valve rocker cover. Refer to "1.6.5 Removal and Cleaning of Three-piece Rocker Cover" .
    4. Remove the engine lifter brackets, refer to "1.5.2 Removal and Cleaning of Lifter Bracket" .
    5. Remove the crankshaft pulley, refer to "1.15.2 Removal and Cleaning Crankshaft Pulley" .
    6. Remove the crankshaft vibration damper, refer to "1.14.2 Cleaning and Removal of Crankshaft Vibration Damper" .
    7. Remove the accessory drive, refer to "1.35.2 Removal and Cleaning of the Accessory Drive" .
    8. Remove the gear case cover, refer to "1.10.2 Removal of Engine Gear Case Cover" .
    9. Remove gear case cover Exhaust Gas Recirculation (EGR) model refer to "1.11.2 Removal of Gear Case Cover" .
    10. Remove the camshaft drive gear, refer to "1.29.2 Removal of Camshaft Drive Gear" .
    11. Remove camshaft gear assembly compact gear train refer to "1.26.2 Removal of Camshaft Gear Assembly" .
    12. Remove the bull gear and camshaft idler gear assembly, refer to "1.33.2 Removal of Bull Gear and Camshaft Idler Gear Assembly" .
    13. Remove bull gear and camshaft idler gear compact gear train refer to "1.32.2 Removal of Bull Gear and Camshaft Idler Gear Assembly" .
    14. Remove the adjustable idler gear assembly, refer to "1.30.2 Removal of Adjustable Idler Gear Assembly" .
    15. Remove adjustable idler gear assembly compact gear trainrefer to "1.31.2 Removal of Adjustable Idler Gear Assembly" .
    16. Remove the crankshaft timing gear and timing wheel, refer to "1.34.2 Removal of Crankshaft Timing Gear and Timing Wheel" .
    17. Remove the gear case, refer to "1.12.2 Removal of Gear Case" .
    18. Remove gear case Exhaust Gas Recirculation (EGR) model refer to "1.13.1 Removal of Gear Case EGR Model" .
    19. Remove the camshaft, refer to "1.28.2 Removal of Camshaft and Camshaft Bearing" .
    20. Remove the cylinder head, refer to "1.2.2 Removal and Cleaning of Cylinder Head" .
    21. Remove the flywheel, refer to "1.16.2 Removal and Cleaning of Flywheel" .
    22. Remove the flywheel housing, refer to "1.18.2 Removal and Cleaning of Flywheel Housing" .
    23. Remove the oil pan, refer to "3.11.2 Removal of Oil Pan" .
    24. Remove the piston and connecting rod assembly, refer to "1.21.2 Removal and Cleaning of Piston and Connecting Rod" .
    25. Remove the crankshaft, refer to "1.7.2 Removal and Cleaning of Crankshaft" .
    26. NOTICE:

      Before removing main bearing caps, be sure each is stamped or punch-marked in numerical order, beginning with No. 1 at the front, to ensure installation in their original position. Mark all caps on the oil cooler side (right side) of the engine to prevent reversal at assembly. Failure to mark numerical order may result in the caps being put back in incorrect order, improper crankshaft support and severe crankshaft or bearing damage or both.‪

    27. Remove the crankshaft main bearings, refer to "1.9.2 Removal of Main Bearing Shells" .

Section 1.1.3
Cleaning the Cylinder Block

Before removing cylinder liners for block cleaning, the liner bores should be gaged to determine whether liner replacement is necessary. Refer to "1.23.2.2 Inspection of Cylinder Liner" .‪

Remove cylinder liners with the cylinder liner removal tool (J–45876) before putting the block in cleaning or descaling baths, to avoid trapping cleaning agents in block liner seating bores. See Figure "Cylinder Liner Removal Tool (J-45876)" .‪

Click to see this graphic in a separate window

Figure 8. Cylinder Liner Removal Tool (J-45876)

After disassembling and before removing the cylinder block from the overhaul stand for cleaning and inspection, install the two metric eye bolts (J–35595) to the cylinder block. See Figure "Cylinder Block Test Deck Plate Installation" .‪

Click to see this graphic in a separate window

Figure 9. Cylinder Block Test Deck Plate Installation

Clean the cylinder block as follows:‪

  1. Remove all oil and water gallery and weep hole plugs to allow the cleaning solution to enter the inside of the oil and water passages. On current block, remove bolt-on plate or piston-cooling oil spray nozzle at the base of each cylinder bore.
  2. Immerse and agitate the block in a hot bath of a commercial, heavy-duty alkaline solution.
  3. Wash the block in hot water or steam clean it to remove the alkaline solution.
  4. If the water jackets are heavily scaled, proceed as follows:
    1. Immerse and agitate the block in a bath of inhibited phosphoric acid.
    2. Allow the block to remain in the acid bath until the bubbling action stops (approximately 30 minutes).
    3. Lift the block, drain it and immerse it again in the same acid solution for 10 more minutes. Repeat until all scale is removed from the water jacket area.
    4. Rinse the block in clear, hot water to remove the acid solution.
    5. Neutralize the acid that may cling to the casting by immersing the block in an alkaline bath.
    6. Wash the block in clean water or steam clean it.
    7. warning

      EYE INJURY

      To avoid injury from flying debris when using compressed air, wear adequate eye protection (face shield or safety goggles) and do not exceed 276 kPa (40 psi) air pressure.‪

  5. Dry the cylinder block with compressed air. Blow out all of the bolt holes and passages with compressed air.

    Note: The above cleaning procedure may be used on all ordinary cast iron and steel parts for the engine. Aluminum parts, such as flywheel housing, air intake manifold, oil filter adaptor and the camshaft gear access cover should NOT be cleaned in this manner. Mention will be made of special procedures when necessary.

  6. Be certain that all water passages and oil galleries have been thoroughly cleaned and dried. Install weep hole plugs and precoated pipe plugs. Install new cup plugs using a coating of good grade non-hardening sealant such as Loctite® 620 or equivalent. Refer to "Additional Information" 1.A, "Engine Plug and Dowel Chart."
  7. Pressure test the cylinder block. Two methods of cylinder block pressure testing may be used depending on the test facilities available:
    1. Immersion method; refer to "1.1.3.1 Testing the Cylinder Block (Immersion Pressure Method)" .
    2. Leak-marker method; refer to "1.1.3.2 Testing the Cylinder Block (Leak-Marker Pressure)" .
Section 1.1.3.1
Testing the Cylinder Block (Immersion Pressure Method)

Use cylinder block pressure test kit (J–36223–D) for immersion method pressure testing as follows:‪

  1. Install cylinder liners with new seal rings and crevice seals. Refer to "1.23.3 Installation of Cylinder Liner" . Seat the liners firmly in the block counterbores with cylinder liner installation tool (J–35597–A) .
  2. Install two metric eye bolts (J–35595) in the head bolt holes at opposite ends of the block. See Figure "Cylinder Block Test Deck Plate Installation" .
    Click to see this graphic in a separate window

    Figure 10. Cylinder Block Test Deck Plate Installation

  3. Install the cylinder block test strips and rings. See Figure "Cylinder Block Test Deck Plate Installation" .
  4. Install the bolts through the strips and into the cylinder block. Torque the bolts on the ring strips to 230-237 N·m (170-175 lb·ft). Torque the bolts on the outside strips to 14 N·m (10 lb·ft).
  5. Install the water inlet cover plate (J–36223–7A, part of tool set J–36223–D ). See Figure "Water Inlet Cover Plate Installation" . Use the bolt supplied with the tool to secure it to the cylinder block.
    Click to see this graphic in a separate window

    Figure 11. Water Inlet Cover Plate Installation

    Note: At the base of each liner, the space between upper and lower liner seals is vented to the block surface on the left side. Any coolant leakage past the upper seal is drained to the outside rather than into the crankcase, and is easily detected by a visual inspection.

  6. With a suitable lifting device and spreadable bars, immerse the cylinder block for twenty minutes in a tank of water heated to 82-93°C (180-200°F).
  7. Attach an air line to the water inlet cover plate and apply 138 kPa (20 psi) air pressure to the water jacket. Observe the water in the tank for bubbles that will indicate cracks or leaks. A cracked cylinder block must be replaced by a new block.
    warning

    EYE INJURY

    To avoid injury from flying debris when using compressed air, wear adequate eye protection (face shield or safety goggles) and do not exceed 276 kPa (40 psi) air pressure.‪

  8. Remove the block from the water tank. Remove the plates and gaskets and blow out all of the passages in the block with compressed air.
  9. Install the cylinder block to the engine overhaul stand (J–29109) . See Figure "Engine Overhaul Stand and Adaptor" .
Section 1.1.3.2
Testing the Cylinder Block (Leak-Marker Pressure)

When a large water tank is not available, or when it is desired to check the block for cracks without removing the engine from the vehicle cylinder block, leak-marker pressure testing may be used. However, it is necessary to remove the cylinder head, oil cooler, and oil pan.‪

  1. Install cylinder liners with new seal rings and crevice seals. Refer to "1.23.3 Installation of Cylinder Liner" . Seat the liners firmly in the block counterbores with cylinder liner installation tool (J–35597–A) .
  2. Install two metric eye bolts (J–35595) in the head bolt holes at opposite ends of the block. See Figure "Cylinder Block Test Deck Plate Installation" .
  3. Fill the water jacket with a mixture of water and 3.8 liters (1 U.S. gallon) of permanent-type antifreeze. The antifreeze will penetrate small cracks and its color will aid in detecting their presence.
  4. Install the cylinder block test strips and rings. See Figure "Cylinder Block Test Deck Plate Installation" .
  5. Install the bolts through the strips and into the cylinder block. Torque the bolts on the ring strips to 230-237 N·m (170-175 lb·ft). Torque the bolts on the outside strips to 14 N·m (10 lb·ft).
  6. Install the water inlet cover plate (J–36223–7A, part of tool set J–36223–D) . See Figure "Water Inlet Cover Plate Installation" . Use the bolt supplied with the tool to secure it to the cylinder block.

    Note: At the base of each liner, the space between upper and lower liner seals is vented to the block surface, on the left side. Any coolant leakage past the upper seal is drained to the outside rather than into the crankcase, and is easily detected by a visual inspection.

  7. Apply 138 kPa (20 psi) air pressure to the water jacket and maintain this pressure for at least two hours to give the water and antifreeze mixture ample time to work its way through any cracks which may exist.
  8. At the end of this test period, examine the outside diameter area of the liner flanges, oil passages, crankcase and exterior of the block for presence of the water and antifreeze mixture, which will indicate the presence of cracks. A cracked cylinder block must be replaced with a new block.
    warning

    EYE INJURY

    To avoid injury from flying debris when using compressed air, wear adequate eye protection (face shield or safety goggles) and do not exceed 276 kPa (40 psi) air pressure.‪

  9. After the pressure test is completed, remove the test deck plate and gasket and the water inlet cover plate. Drain the water jacket. Then blow out all of the passages in the cylinder block with compressed air.
  10. Install the cylinder block to the engine overhaul stand (J–29109) . See Figure "Engine Overhaul Stand and Adaptor" .
Section 1.1.3.3
Inspection of the Cylinder Block

Perform the following for cylinder block inspection:‪

  1. Remove the cylinder liners and check to determine whether liner replacement is necessary. Refer to "1.23.2.2 Inspection of Cylinder Liner" .
  2. Measure the bore of each cylinder with cylinder bore gage (J–5347–B) which has a dial indicator calibrated in 0.0001 in. increments. See Figure "Gaging Cylinder Bores" .
    Click to see this graphic in a separate window

    Figure 12. Gaging Cylinder Bores

  3. Measure cylinder block bore, at the positions on axis 90 degrees apart. See Figure "Maximum Cylinder Block Bore Diameters by Location (After Clean-up)" . If the diameter does not exceed the dimensions listed in Table "Acceptable Cylinder Bore Diameters" , the block may be reused.

Note: The above measurements are average gage readings at each position. Also, the out-of-round must not exceed 0.0254 mm (0.001 in.).

Click to see this graphic in a separate window

Figure 13. Maximum Cylinder Block Bore Diameters by Location (After Clean-up)

Location

Diameter, mm

Diameter, in.

A‪

149.050 - 149.120‪

5.868 - 5.871‪

B‪

146.050 - 146.120‪

5.750 - 5.753‪

C‪

146.050 - 146.120‪

5.750 - 5.753‪

Table 8. Acceptable Cylinder Bore Diameters
Section 1.1.3.4
Inspection of Deck Flatness

Check the cylinder block deck for flatness with an accurate straightedge and feeler gage. See Figure "Checking Block Deck for Flatness" .‪

Click to see this graphic in a separate window

Figure 14. Checking Block Deck for Flatness

Check front-to-rear flatness next to the cylinder liner flanges on both sides, and side-to-side flatness between the liner flanges. The deck must be flat within 0.127 mm (0.005 in.) front-to-rear, and flat within 0.0762 mm (0.003 in.) side-to-side. If not, the deck must be resurfaced.‪

NOTICE:

The camshaft is mounted in the cylinder head so resurfacing of the block affects the position of the camshaft in relation to the adjustable idler gear and gear train.‪

Record the amount of stock removed from the cylinder block by stamping the amount removed on the cylinder block pad. See Figure "Recording Stock Removal on Cylinder Block Pad" .‪

Click to see this graphic in a separate window

Figure 15. Recording Stock Removal on Cylinder Block Pad

Section 1.1.3.5
Inspection of Main Bearing Bores

Perform the following steps for main bearing bore inspection:‪

  1. Install the main bearing caps in their original positions. Lubricate the cap bolt threads and head contact surfaces with a small quantity of International Compound #2®.
    International Compound #2® is a registered trademark of IRMCO.
  2. Install the main cap bolts and torque to 470-530 N·m (347-391 lb·ft).
  3. Measure the main bearing bores using dial bore gage which has a dial indicator calibrated in 0.0001 in. increments. Set the cylinder bore gage on zero in master setting fixture. See Figure "Gaging Main Bearing Bores" .
    Click to see this graphic in a separate window

    Figure 16. Gaging Main Bearing Bores

The bore diameter specifications is 133.00-133.025 mm (5.236-5.237 in.). Line boring is also necessary when a bearing cap must be replaced due to breakage or spun-bearing damage. Refer to "Additional Information" 1.A, for line bore specifications which are listed in Table "Cylinder Block" .‪

Note: Dial bore master setting fixture should be used to zero the cylinder bore gage.

Section 1.1.3.6
General Inspection

Check all machined surfaces for nicks or burrs that could affect the fit of mating parts. Clean up as necessary by stoning. Also inspect all tapped holes for thread damage and retap or install helical thread inserts as necessary. Replace any loose or damaged dowel pins. Refer to "Additional Information" 1.A, "Engine Plug and Dowel Charts" for specifications.‪

Section 1.1.3.7
Rust Prevention

After inspection, if the cylinder block is not to be used immediately, spray the machined surfaces with engine oil.‪

NOTICE:

Castings free of grease or oil will rust when exposed to the atmosphere. Rust on machined surfaces may result in leakage.‪

If the block is to be stored for an extended period of time, spray or dip it in a polar-type rust preventive such as "Tectyl® 502-C" from Valvoline Oil Company (or equivalent).‪

Tectyl® is a registered trademark of Ashland Oil, Inc.‪

Section 1.1.4
Reassembly of Cylinder Block

After the cylinder block has been cleaned and inspected, assemble the engine as follows:‪

warning

EYE INJURY

To avoid injury from flying debris when using compressed air, wear adequate eye protection (face shield or safety goggles) and do not exceed 276 kPa (40 psi) air pressure.‪

  1. Before a reconditioned or new service replacement cylinder block is used, steam clean it to remove the rust preventive and blow out the oil galleries with compressed air.
  2. If a new service replacement block is used, stamp the engine serial number and model number on the pad provided on the left side of the block, just below the deck. See Figure "Location of Engine Serial and Model Numbers" .
    Click to see this graphic in a separate window

    Figure 17. Location of Engine Serial and Model Numbers

  3. Also stamp the position numbers on the main bearing caps and the position of the No. 1 bearing on the cooler side of the oil pan mounting flange of the block.
  4. Install the main bearing caps in their original positions; refer to "1.9.3 Installation of Main Bearings Shells (Crankshaft Removed)" .

    NOTICE:

    Always check to make sure cooling nozzles are open and aligned after piston installation. An obstructed, misaligned, bent, or damaged nozzle may not provide proper piston cooling. A loosened nozzle may cause a loss of main gallery oil pressure. In either case, piston overheating or lack of adequate lubrication may result in severe engine damage.‪

  5. On current non-premium engines with cast iron pistons, install the bolt-on plate over the oil gallery orifice at the base of each cylinder bore. On premium engines with closed-end rods and forged steel pistons, install oil spray nozzles into these openings. See Figure "Oil Spray Nozzle Location" for location of nozzle. Torque plate nozzle retaining bolts to 30–38 N·m (22–28 lb·ft).
    Click to see this graphic in a separate window

    Figure 18. Oil Spray Nozzle Location

  6. Install all of the required cup plugs. Use a good grade of non-hardening sealant such as Loctite® 620 (or equivalent). Apply a thin coat of sealant just inside the chamfer where the plug is to be installed and install using cup plug installation tool set (J–35653) . See Figure "Cup Plug Installation Tool Set" .
    Click to see this graphic in a separate window

    Figure 19. Cup Plug Installation Tool Set

  7. Install all of the required pipe plugs. Refer to "Additional Information" 1.A, "Engine Plug and Dowel Charts".

    Note: Whenever a pipe plug is removed from the cylinder block, the threads must be coated with Loctite®, PT-7260 , pipe sealant with Teflon, or equivalent, before reassembly. Certain plugs available from the parts depot already have a sealer applied to the threads. Although unnecessary, this pre-coating will not be affected if pipe sealer with Teflon is also applied.

  8. With the engine mounted on the overhaul stand, install all of any remaining subassemblies and parts on the cylinder block.
    1. To install the crankshaft main bearings, refer to "1.9.3 Installation of Main Bearings Shells (Crankshaft Removed)" .
    2. To install the crankshaft, refer to "1.7.3 Installation of Crankshaft" .
    3. To install the piston and connecting rod assembly, refer to "1.21.5 Installation of Piston and Connecting Rod Assembly" .
    4. To install the oil pan, refer to "3.11.4 Installation of Oil Pan" .
    5. To install the flywheel housing, refer to "1.18.3 Installation of Flywheel Housing" .
    6. To install the flywheel, refer to "1.16.3 Installation of Flywheel" .
    7. To install the cylinder head, refer to "1.2.5 Installation of Cylinder Head" .
    8. To install the camshaft, refer to "1.28.6 Installation of Camshaft and Camshaft Bearing" .
    9. To install camshaft gear assembly compact gear train refer to "1.26.5 Installation of Camshaft Bearings and Camshaft Gear Assembly" .
    10. To install the gear case, refer to "1.12.3 Installation of Gear Case" .
    11. To install gear case Exhaust Gas Recirculation (EGR) modelrefer to "1.13.2 Installation of Gear Case EGR Model" .
    12. To install the crankshaft timing gear and timing wheel, refer to "1.34.3 Installation of Crankshaft Timing Gear and Timing Wheel" .
    13. To install the adjustable idler gear assembly, refer to "1.30.3 Installation of Adjustable Idler Gear Assembly" .
    14. To install adjustable idler gear assembly compact gear train refer to "1.31.3 Installation of Adjustable Idler Gear Assembly" .
    15. To install the bull gear and camshaft idler gear assembly, refer to "1.33.3 Installation of Bull Gear and Camshaft Idler Gear Assembly" .
    16. To install the bull gear and camshaft idler gear assembly compact gear train refer to "1.32.3 Installation of Bull Gear and Camshaft Idler Gear Assembly" .
    17. To install the camshaft drive gear, refer to "1.29.4 Installation of Camshaft Drive Gear" .
    18. To install the gear case cover, refer to "1.10.3 Installation of Gear Case Cover" .
    19. To install gear case cover Exhaust Gas Recirculation model refer to "1.11.3 Installation of Gear Case Cover EGR Model" .
    20. To install the accessory drive, refer to "1.35.5 Installation of the Accessory Drive" .
    21. To install the crankshaft vibration damper, refer to "1.14.3 Installation of Crankshaft Vibration Damper" .
    22. To install the crankshaft pulley, refer to "1.15.3 Installation of Crankshaft Pulley" .
    23. To install the engine lifter brackets, refer to "1.5.3 Installation of Lifter Bracket" .
    24. To install the valve rocker cover, refer to "1.6.8 Installation of One-Piece Rocker Cover" (one piece) and refer to "1.6.9 Installation of Two-Piece and Three-Piece Rocker Covers" (two piece and three piece).
    25. Install any electrical components, connectors or wiring looms that were removed during disassembly.
    26. Install the SRS, gear case mountedrefer to "2.30.3 Installation of Synchronous Reference Sensor" .
    27. Install the SRS/CMP camshaft gear cover mounted refer to "2.31.3 Installation of the Synchronous Reference Sensor \ Camshaft Position Sensor" .
    28. Install the TRS, refer to "2.32.3 Installation of Timing Reference Sensor" .
    29. Install the ECM, refer to "2.18.3 Installation of DDEC I Electronic Control Module" for DDEC I, refer to "2.17.4 Installation of DDEC II Electronic Control Module" for DDEC II, refer to "2.16.3 Installation of the DDEC III/IV Electronic Control Module" for DDEC III/IV, and cold plate if required, refer to "2.16.3 Installation of the DDEC III/IV Electronic Control Module" .Refer to "2.15.3 Installation of the DDEC V Electronic Control Unit" for DDEC V installation.
    30. Install a suitable lifting device to the engine. See Figure "Lifting Engine" .
    31. warning

      FALLING ENGINE

      To avoid injury from a falling engine, ensure the engine is securely attached to the engine overhaul stand before releasing the lifting sling.‪

    32. Remove the engine from the overhaul stand. See Figure "Engine Overhaul Stand and Adaptor" .

Transfer the engine to a suitable engine dynamometer test stand. Operate the engine on a dynamometer following the Run-in procedure; refer to "12.7.3.2 Run-in Procedure" .‪

Install the engine in the equipment from which it was removed.‪


Series 60 Service Manual - 6SE483
Generated on 10-13-2008